產品特點/Product features-----------------------------------------------------------◆◆
工作原理:
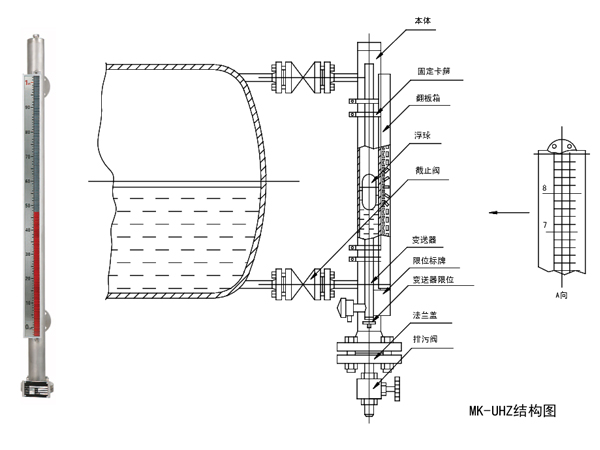
主體管通過法蘭連接在儲液罐上,隨著容器內液體的上下變化,帶動含磁鋼的浮子上下移動,在全封閉的管中,
只有浮子隨著液體上下移動.在主體管的外部是磁翻柱,1磁翻柱的一半是白色,另一半是紅色是用塑料制成.
2耐高溫是用陶瓷材料制成.磁翻柱軸之間的距離是10mm,隨著浮子的上下移 動,浮子內永久磁體的束性
磁場將翻柱推轉180℃,從而改變它們的顏色,當浮子上升時,磁翻柱從白色變為紅色,當浮子下降時,
它們又變為白色,這意味著, 在任何時間。紅色或藍色磁翻柱始終代表著儲罐內的液體,而無需外加
電源。
技術特點:
·設計簡單、堅固、緊湊
·主體管和顯示部分在耐壓、耐氣上是隔離的
·可用于測量和顯示腐蝕性、易燃性、毒性、強放射性、攪動的、污蝕的液體
·磁翻住顯示無需電源
·使用耐強腐蝕性材質可用于工業生產幾乎所有地方
·耐壓從真空到6.4mpa-10mpa
·適用溫度范圍可在-160℃到期+450℃(液體中)
技術參數/Technical parameters-------------------------------------------------------◆◆
產品選型主要技術參數
測量范圍:300-8000mm
準確度:±10mm
翻柱直徑:10mm
工作壓力:≤2.5Mpa(在于2.5Mpa以上可另行設計)
防腐型≤0.6Mpa
介質密度:≤0.45g/cm
介質溫度:-20—+250nc(特殊要求可達450℃)
介質粘度:≤0.4pa·S,對于粘度大的介質或溫度低時易結晶的介質,可根據用戶要求選用加熱型夾套式液位計。
產品外形尺寸/Product dimensions-----------------------------------------------------◆◆


安裝方式/Installation method---------------------------------------------------------◆◆








